PRODUCTOS
DESCRIPCIÓN DEL PRODUCTO
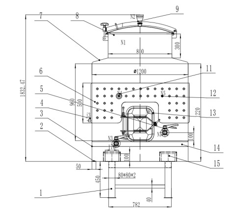
Este tipo de contenedor está diseñado con orificios para montacargas o estructuras de marco, lo que facilita que los montacargas inserten directamente las horquillas para su manipulación, simplificando así el proceso de carga y descarga;

1. Bolsillos integrados para montacargas (La característica no negociable)
Este es el rasgo distintivo. Cada tanque de vino para montacargas tiene bolsillos reforzados de acero resistente (generalmente 2-4 bolsillos, colocados simétricamente en la base o paredes laterales inferiores del tanque). Estos bolsillos están diseñados para soportar el peso total del tanque más el vino en su interior (¡un tanque lleno de 500 galones puede pesar más de 4,500 libras!). Crucialmente, los bolsillos están al ras o empotrados—no sobresalen, por lo que el tanque no se enganchará en estantes, mangueras u otros equipos al ser movido. Nunca usamos soportes externos aquí—se rompen demasiado fácilmente bajo cargas pesadas.
2. Diseño apilable (Para almacenamiento que ahorra espacio)
La mayoría de los tanques de vino para montacargas son apilables cuando están vacíos (y a veces cuando están parcialmente llenos, con límites estrictos de peso). La parte superior del tanque tiene un borde reforzado que encaja perfectamente con la base de otro tanque, permitiendo apilar 2-3 en altura con un montacargas. Esto es un cambio radical para bodegas pequeñas y medianas—no necesitas un almacén enorme para guardar tanques vacíos durante las temporadas bajas. Consejo profesional: Siempre verifica la clasificación de apilamiento del fabricante—nunca apiles tanques llenos a menos que estén explícitamente clasificados para ello (la mayoría no lo están, por razones de seguridad).
3. Construcción duradera y ligera (Equilibrada para manipulación con montacargas)
Estos tanques casi siempre están hechos de acero inoxidable 304 o 316 (grado alimenticio, resistente a la corrosión, perfecto para vinos ácidos). Pero el calibre del acero está cuidadosamente equilibrado: lo suficientemente grueso para contener el vino sin deformarse, lo suficientemente delgado para ser movido por un montacargas estándar de almacén (sin necesidad de un montacargas industrial pesado). La base también está reforzada con un marco de acero sólido—esto evita que el tanque se doble o agriete cuando un montacargas lo levanta, incluso cuando está lleno.
4. Opciones de tamaño portátil (Adaptadas a la maniobrabilidad del montacargas)
Los tanques de vino para montacargas vienen en tamaños modulares y maniobrables—típicamente desde 50 galones (pruebas de pequeños lotes) hasta 1,000 galones (producción a granel de lotes pequeños). Nunca se fabrican más grandes que eso, porque tanques más grandes serían demasiado anchos/largos para que un montacargas los mueva de manera segura en una bodega (donde los pasillos suelen ser estrechos, con techos bajos y giros cerrados). Esta portabilidad te permite mover el tanque directamente desde la prensa al área de fermentación, a la sala de envejecimiento y finalmente a la línea de embotellado—sin necesidad de bombear el vino entre tanques fijos múltiples veces (¡lo que reduce el riesgo de oxidación!).
5. Puntos de acceso amigables para montacargas (Para tareas de vinificación fáciles)
Las válvulas, puertos de muestreo y escotillas de acceso están colocados a una altura fácil de alcanzar cuando el tanque es movido por un montacargas. Por ejemplo, la válvula de drenaje suele estar en la parte inferior (pero no tan baja que golpee las horquillas del montacargas), y el puerto de muestreo está a la altura del pecho—así no tienes que subir una escalera o bajar el tanque para tomar una muestra de vino. Algunos modelos incluso tienen un marcador de altura ajustable con montacargas—para que el operador pueda levantar el tanque a la altura exacta necesaria para conectar mangueras o líneas de embotellado, sin necesidad de soportes adicionales.
6. Exteriores resistentes a impactos (Para manipulación en almacén)
Seamos realistas—los montacargas no siempre son perfectos. Estos tanques tienen protectores de esquina reforzados y acabados resistentes a rayaduras en el acero. Los bolsillos para montacargas también están revestidos con goma o plástico grueso para evitar que las horquillas del montacargas rayen el tanque (las marcas de rayones pueden provocar corrosión con el tiempo, lo que arruina el vino). Esto los hace mucho más duraderos que los tanques de vino estándar no diseñados para montacargas, que se dañan fácilmente si intentas moverlos con equipo pesado.
7. Compatibles con accesorios estándar de bodega (Sin herramientas especiales necesarias)
Los tanques de vino para montacargas funcionan con todo el equipo estándar de bodega que ya tienes: chaquetas de enfriamiento, elementos de calefacción, brazos de trasiego y tapones. La única diferencia es que puedes mover el tanque con todos estos accesorios conectados (siempre que estén asegurados) usando un montacargas. Esto ahorra mucho tiempo—no tienes que desconectar y reconectar mangueras cada vez que mueves el tanque. Por ejemplo, puedes fermentar vino en el tanque, conectar una chaqueta de enfriamiento, moverlo a la sala fría con un montacargas y dejarlo envejecer—todo sin tocar el vino en su interior.
Obtener un presupuesto
Embalaje y envío
Productos recomendados